A Decentralized Identity Management System

Patent Number: PCT-IN23-0941
For more details about technology: Click Here
Blackhawk Technologies & LC Power Tools

UDOS® 31E and UDOS® 51E Features
• Powerful motors packing efficiency in both the 3-in-1 and 5-in-1 tools combining rotary and random orbital functions to easily handle demanding applications.
• The sanders & polishers are lighter, faster and more powerful than any of its competitors in the market utilizing 5-inch and 6-inch sanding & polishing discs.
• The Back-Plates are designed for minimum vibration, with proprietary & strategically placed cooling vents to channel cooler air through the plate and the pads for longer life.
• The variable speed and dual sided triggers on both units along with vibration control features, offer increased control of the tool for superior performance for any user skill level
• Both units offer long anti-freeze rubber cords and ergonomic rubber grips for increased comfort and flexibility, making these polishers and sanders of choice
For more details about technology: Click Here
Enginelock Technology

The whole pitch deck is represented below
EngineLockSM technology provides remote wireless engine immobilization and supports multiple markets, including:
corporate and consumer car sharing as well as traditional car rental services and direct-to-consumer.
Wireless accessory to an OBD telematics device Smart Key Pro SM or smartphone app
- Plug-and-play replacement for ECU fuse. Install in minutes…no wires to cut or connect
- Fuse adapters for any fuse type (micro LP, micro, mini,etc)
- Prevent engine start from physical and digital attacks*
- Cybersecurity – can’t shutdown running engine
- Provides improved overcurrent protection Bluetooth LE control
- Self-powered by replaceable batteries or connect to vehicle power
- Supports OTA signed firmware updates
For more details about technology: Click Here
Post Quantum Cryptography Technology Acquisition Licensing Opportunity : Qwyit LLC
The Opportunity

Qwyit TM Benefits
• Complete cryptosystem, with authentication and encryption
• Solves crypto vulnerabilities (all attack profiles)
• Stops cybercrime “edge” attacks (e.g., identity theft, network break-ins, stolen crypto currency, etc.)
• Performs in a single machine cycle
• Has less than 300 lines of VHDL, fitting on any device profile
• Applicable to any federated business and trust model
Seeing Is Believing
The claims regarding QwyitTM are real and demonstrable. We encourage you to reach out to us and schedule a short demonstration of QwyitTM technology on your own devices/hardware, using the Company’s FPGA (or yours), or running various software Apps on The Company’s devices. QwyitTM technology is ideal for embedding in semiconductors for critical business, communication, financial transactions and security
applications.
Future-proof your products and stay ahead of the curve, remain relevant in the years to come and solve today’s problems now.
For more details about technology: Click Here
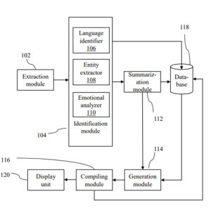
A SYSTEM AND METHOD FOR GENERATING AN AUDIO-VISUAL
Technical Field of Invention
Technical Field of the current invention pertains to Computer Science, wherein process for which Patent Application is filed tend to generate an audio-visual from the text.
Introduction
The current invention, with the help of software (Artificial Intelligence), will convert a book with a FICTION story to an animated video. Any fiction book has the below details mentioned in it:
Character – detailed description is provided for each character (description, appearance, looks, strength, behavior, nature, qualities, characteristics etc.)
Place – detailed description is provided for the places like a house, farms, fields, castles, forts, jungles etc (how the places look like, the area, the condition of the place etc.)
Narration – the story narration and the description of characters and places creates imaginary characters, places and story in the reader’s mind.
Working
- The software (Artificial Intelligence) shall do the below tasks:
- Read the entire book
- Understand the story and plot
- Convert the characters mentioned in the story to animated characters as per the description provided in the story
- Determine male and female characters and provide voice accordingly
- Convert the places mentioned in the story to animated places as per the description provided in the story
- Convert the story to an animated movie with background music as per the situation
- Any sentences in inverted commas (“ ”) shall be considered as dialogues spoken by the characters.
- For the characters and places where description is not provided in the book, the artificial intelligence shall be able to create a closest accurate character and place (for example, common characters like Jesus, Krishna, etc. and places like heaven, hell etc. which requires no description, Artificial Intelligence shall able to get the data from the internet and create a look alike character and place).
- This will make sure that the reader is watching the entire book as a movie and not spending much time
Utility of Invention
- Reading books is considered boring by major part of population as people are visually oriented and prefer getting the story through the action and visuals of a movie or video
- Many people like to listen to the story rather than reading
- Working people who love reading have to plan time to read books
- Most of the old aged people who love reading cannot read books due to vision problems
- Illiterate people cannot read books
- A book in a specific language can be read only by those people who can understand that language
- People do not have time to read books as per their priorities
Expectations
- Inventor seeks alliance with Potential Licensees to assign Licensing Rights.
- Inventor is also interested in Sale of the Patents.
Patent Application Number: 473296
For more details about technology: Click Here

Working