skip to Main Content

A System And Method For Generating An Audio-Visual

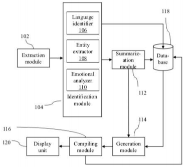
Embodiments of the present disclosure relate to generation of a media file, and more particularly to, a system and a method for generating an audio-visual based on input of at least one or more texts, one or more audios and one or more images. Technical Field of the current invention pertains to Computer Science, wherein process for which Patent Application is filed tend to generate an audio-visual from the text.

Patent Application Number: 201921012207

For More details about the technology: Click Here

Back To Top