skip to Main Content

Improvement In Automotive Locks

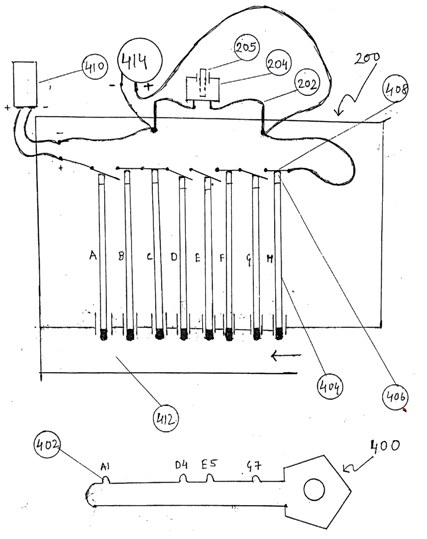
This invention helps in achieving a better security standard for vehicle protection by means of an electro – mechanical automotive lock. Existing systems use conventional locking system which is easier to . This invention helps in achieving a higher level of advanced protection measure for the security of the vehicle in a very economical cost and overcomes the shortcomings of the current conventional locks in practice.

Application Number: 201821020739
For more details about the technology: Click here

Back To Top