skip to Main Content

Self-Knotting Suturing Instrument

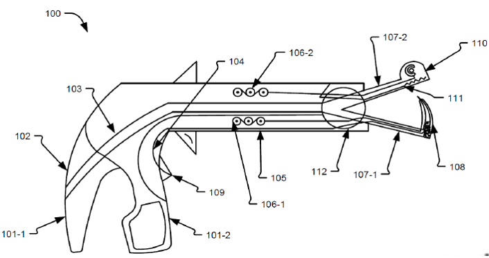
The device pertains to a minimally invasive surgical instrument in which the needle holder and sutures are assembled within it to perform interlocking continuous / intermittent suturing on its own without any manual rotary wrist movement of the surgeon.
For more details about the technology: Click Here

Back To Top