skip to Main Content

Tubular Structure Ligator

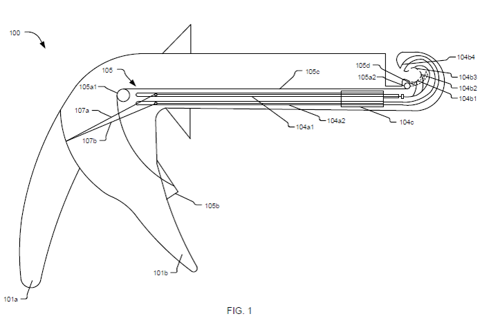
This device pertains to a minimally invasive surgical instrument that can ligate and cut tubular organs and tubular structures or tissues simultaneously in a single sitting, which causes complete stoppage of blood flow, and is easy to operate while consuming less time.

For more details about the technology: Click Here

Back To Top