A holder meticulously designed to seamlessly integrate with standard measuring tapes. This advanced holder features a sophisticated slot system, enabling secure attachment to the measuring tape while accommodating one or more marking devices. Engineered for accuracy, it allows smooth, precise marking directly on the surface being measured. Equipped with wheels for facilitated movement, an integrated processor for automated operation.

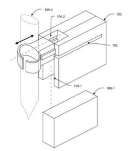
- The marking tool holder, as shown in the diagram, is denoted 100. Using the central slot shown by notation 102, the holder will be attached to the measuring tape.
- The holder slides onto the tape with ease because of its application. In addition, the central slot features a self-locking mechanism.
- For projection purposes, the slot provided in Notation 104-1 can be utilized to attach chalk to the holder.
- Notation 104-2 offers a slot for attaching a clip-in holder that can accommodate a pen, pencil, marker, or laser, as shown in notation 106-2
For more details about technology: Click Here
Patent Application Number: 20232100292
